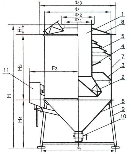
為提高除塵脫硫效率,進一步對噴咀進行技術改造設計,把兩項流體引旋流機制,保進了膜化與凝聚的形成,強化了鼓泡作用進一步提高了除塵與脫硫效能,該項產品取得了國家專利。
二、技術參數
|
型號 |
鍋爐容量t/h |
||||||
|
2
|
4
|
6
|
8
|
10
|
15
|
20
|
|
|
風量范圍
m3/h |
4600-6000
|
9000-11000
|
10000-13500
|
16000-22000
|
24000-28000
|
33000-37500
|
46000-54000
|
|
除塵總效率%
|
95-98
|
||||||
|
脫硫效率%
|
75-80
|
||||||
|
阻力Pa
|
600-800
|
||||||
|
林格曼黑度
|
|||||||
|
分割粒經uM
|
|||||||
|
水耗I/m3
|
0.10-0.30
|
||||||

技術參數

工程案例

<>
<>




